На вказану електронну адресу було надіслано повідомлення для підтвердження реєстрації
Ford запатентував ремені безпеки з підігрівом
- 163
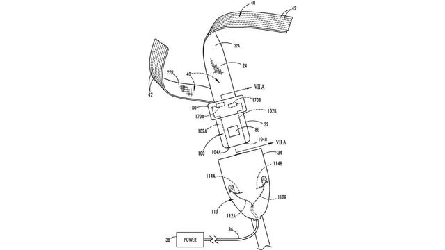
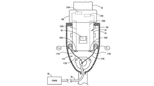
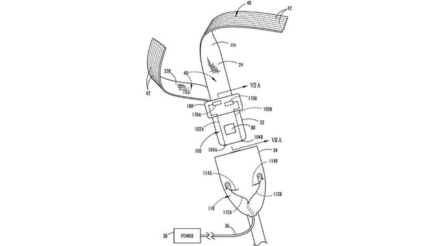
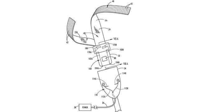
Компанія Ford запатентувала дизайн і конструкцію ременів безпеки з підігрівом. Відповідну заявку американський виробник подав у Бюро по патентах і товарних знаках США.
У 31-сторінковому документі описаний принцип роботи електричного підігріву, інтегрованого в тканинну частину ременя безпеки. Конструкція складається з фіксатора, підключеного до джерела живлення, ланцюг у якому замикається за допомогою язичка ременя. Обігрів здійснюється завдяки нагрівальним елементам, розташованим між шарами тканинного матеріалу. Компанія передбачила кілька варіантів дизайну фіксатора та самого ременя.
І ще: Автопілот Tesla навчать розпізнавати світлофори та знаки "Стоп"
Раніше Ford описав циліндричний пасажирський відсік для безпілотників, який може повертатися щодо бази автомобіля. Відсік складається з куполоподібного даху і бічних стін-сегментів. Їх можна зрушувати для доступу всередину машини, а також відкидатися вниз. У патентній заявці також згадується висувний стіл, оснащений подушкою безпеки, і складні крісла, встановлені на рухомому п'єдесталі.
Торік Ford запатентував складну систему підсвічування емблеми для Lincoln. В логотип компанія запропонувала вбудувати безліч різнокольорових світлодіодів, щоб використовувати їх як індикатор дистанційного запуску двигуна або як доповнення до денних ходових вогнів.
Читайте також: Фотошпигуни показали нову спортивну Mazda
-
20:45Квіти за знаком Зодіаку – які рослини пасують кожному сузір’ю
-
20:30Цитати з творів Лесі Українки, які надихають і сьогодні: слова, що пронизують душу
-
20:25Не довіряй наосліп – як перевірити якість води вдома без лабораторії
-
20:15Принц Гаррі зворушливо звернувся до українців у четверту річницю вторгнення
-
20:016 способів заощадити гроші вдома: навіщо досвідчені господині використовують звичайну соду
-
Українські патріотичні пісні: плейлист, який підіймає дух
-
19:45Остапчук у центрі скандалу: Горняк заявила про знущання, Полтавська готує суд
-
19:05Яке взуття обрати для тренувань у спортзалі: чому бігові кросівки можуть нашкодити
-
18:25Зірка "Володаря перснів" зворушив світ читанням поезії українського ветерана Артура Дроня
-
18:00Волога в холодильнику: чому з’являється конденсат і як його позбутися без зайвих витрат
-
17:50Не накривайте чавун кришкою – інакше з’явиться іржа: проста помилка, яка псує сковороду
-
17:35Марічка Падалко розповіла про службу чоловіка й 18-річного сина
-
17:15Як красиво привітати керівника з Днем народження: найкращі вірші, проза, смс і щирі слова
-
17:07М’ясо по-французьки з сиром і грибами: як приготувати соковиту страву, яка підкорить всіх
-
З Днем народження: топ 75 привітань у картинках, віршах, прозі та смс українською
-
16:50Українська співачка зізналась, як Поплавський відкрив їй дорогу на велику сцену
-
16:35Відмовилася від розкоші: донька мільйонера Гаріка Корогодського розповіла про ЗСУ
-
16:05Як дотримуватися Великого посту: що можна їсти, які правила та кому дозволені послаблення
-
15:35Платиш зайве за світло – один дешевий засіб змусить холодильник "не жерти" кіловати
-
15:30Анастасія Коротка розповіла, як діти пережили розлучення з Андрій Бєдняков
-
15:00Навіщо додавати оцет під час прання: простий спосіб зробити речі свіжішими та чистішими
-
14:35Крутимо стрілки знову – коли Україна перейде на літній час у 2026 році
-
14:32"Мова душі": Ектор Хіменес-Браво розчулив зізнанням про своє улюблене українське слово
-
14:05Ніжний банановий торт без випікання: які інгредієнти потрібні та як приготувати десерт
-
13:35"Ці стосунки вже не повернути": Ольга Сумська про образу на Катерину Осадчу після інтерв'ю
-
20:15Принц Гаррі зворушливо звернувся до українців у четверту річницю вторгнення
-
18:25Зірка "Володаря перснів" зворушив світ читанням поезії українського ветерана Артура Дроня
-
16:35Відмовилася від розкоші: донька мільйонера Гаріка Корогодського розповіла про ЗСУ
-
13:05Коли буде Благовіщення Пречистої Діви Марії: церковний календар на березень 2026 на щодень
-
10:00"Хочу відчути цю енергію": Віталій Козловський зізнався, що мріє про народження доньки
-
07:00До річниці повномасштабного вторгнення 24 лютого: сильні молитви за Україну
-
06:30Вівторок "вмикає правду": кому відкриється шанс, а кому краще пригальмувати
- 23 лютого
-
21:22Яке свято відзначають 24 лютого: традиції, заборони і прикмети на цей день
-
17:00Тіна Кароль запускає другий сезон проєкту "Дім Звукозапису": першою гостею стала DOROFEEVA
-
09:32Березень 2026 натисне "перезапуск": прогноз на місяць для кожного знака Зодіаку
-
06:30Цей день покаже, хто на твоєму боці: гороскоп на понеділок для всіх знаків Зодіаку
- 22 лютого
-
21:21Яке свято відзначають 23 лютого: традиції, заборони і прикмети на цей день
-
20:00Чому 23 лютого українкам не треба вітати чоловіків: історія свята
-
18:40"Курган & Agregat" запустили флешмоб зі шкільними фото – зірки масово підхопили тренд
-
12:31Топ-5 небезпечних продуктів для собак: чим не можна годувати улюбленця
-
06:3022 лютого подарує справжню несподіванку: гороскоп на неділю для всіх знаків
- 21 лютого
-
19:31Яке свято відзначають 22 лютого: традиції, заборони і прикмети на цей день
-
13:33Блекаут і темрява: як вони впливають на психіку та 12 порад, які допоможуть знизити стрес
-
09:00Міжнародний день рідної мови 21 лютого: скільки разів і чому забороняли українську
-
06:30Субота, яка знімає рожеві окуляри: один знак отримає шанс на перезавантаження
- 20 лютого
-
21:22Яке свято відзначають 21 лютого: традиції, заборони і прикмети на цей день
-
13:00Хімія поза екраном: зірки фільму "Я, "Побєда" і Берлін" закохані в реальному житті
-
10:00Леся Нікітюк зворушила мережу фото з 8-місячним сином та показала його нові досясягнення
-
09:00Вшануймо пам'ять перших загиблих героїв Небесної сотні 20 лютого: імена та історія
-
06:30Один вчинок уранці – і день піде інакше: кому 20 лютого дасть "зелене світло"