На вказану електронну адресу було надіслано повідомлення для підтвердження реєстрації
Як шпаргалка: LG запатентувала ручку-смартфон
- 192
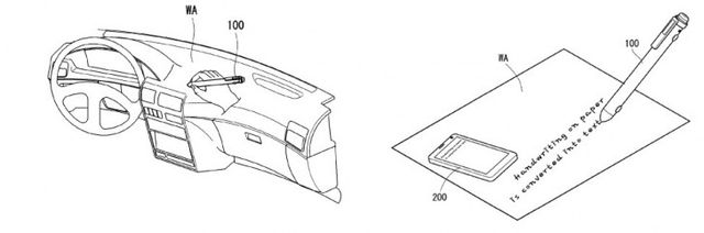
Компанія LG запатентувала розумний стилус з гнучким екраном, який у майбутньому зможе повністю замінити смартфон. По суті – ця "розумна" ручка, оснащена LTE-модулем, мікрофоном, динаміком, камерою, сканером відбитків пальців.
Також у переліку особливостей є набір компонентів, включаючи гіроскоп, компас, датчики наближення, тиску і навіть сканер, що відстежує рухи очей користувача. У зібраному стані цей стилус виглядає як звичайний аксесуар для смартфона – з його допомогою можна малювати на екранах смартфонів і планшетів, а також оцифровувати рукописний текст прямо під час написання тексту.
І ще: Apple запатентувала новий гаджет для вимірювання тиску
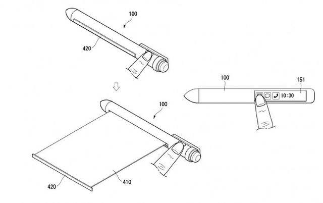
Практично по всій довжині стилуса LG проходить тонкий вузький екран, на який виводяться повідомлення від смартфонів, планшетів та інших розумних пристроїв, включаючи мультимедійні системи автомобілів, до яких можна під'єднатися по бездротовому каналу. Якщо ж користувач хоче отримати дисплей більшої діагоналі, він просто витягує зі стилуса гнучкий екран, скручений всередині корпусу ручки.
Судячи з ілюстрацій, стилус LG працює під управлінням повноцінної мобільної ОС, а отже може запускати всі необхідні користувачу програми та ігри, переглядати фотографії та відео, спілкуватися з друзями. Блок-схема компонентів вказує навіть на наявність модуля стільникового зв'язку, тобто такий пристрій дійсно зможе замінити смартфон, а не виконувати роль просунутого аксесуара.
Щоб переконатися, що це в принципі можливо, досить згадати розумний годинник Apple Watch останнього покоління з LTE, який уже позбувся залежності від смартфона і може самостійно виконувати голосові дзвінки. По суті, відкритим залишається лише питання з місткістю вбудованого акумулятора та часом автономної роботи такого пристрою.
Читайте також: Motorola запатентувала незвичайний гнучкий смартфон
-
22:00Міжнародний день сантехніка 11 березня – найкращі привітання у прозі та картинках
-
21:22Яке свято відзначають 11 березня: традиції, заборони і прикмети на цей день
-
20:00Не для декору, а з користю: для чого насправді потрібен маленький трикутник на светрі
-
19:00Як прати кольорові речі, щоб вони не линяли: прості правила, які збережуть одяг яскравим
-
18:00Як перетворити квартиру на місце сили: прості правила фен-шуй, які створять гармонію вдома
-
Українські патріотичні пісні: плейлист, який підіймає дух
-
17:00Яка різниця у віці між партнерами вважається найкращою: який оптимальний варіант для щастя
-
16:00Жир на животі почне танути швидше: 8 продуктів, які допомагають схуднути без тренувань
-
15:307 ознак, що чоловік більше вас не кохає: які зміни у поведінці не варто ігнорувати
-
14:25Листя знову блищатиме: як швидко очистити кімнатні рослини від пилу та бруду
-
13:21Доступна альтернатива рибі: медики назвали продукт з омега-3, який може замінити рибу
-
12:30Фільм "2000 метрів до Андріївки" здобув премію Американського товариства кінематографістів
-
11:30Українки розвернули чотири крісла на італійському "Голосі": зворушливе відео виступу
-
10:30“Я не розуміла, що вагітна”: Анна Сагайдачна здивувала історією про народження сина
-
З Днем народження: топ 75 привітань у картинках, віршах, прозі та смс українською
-
10:00Він написав неофіційний гімн України: легендарні пісні Тараса Петриненка, якому – 73
-
09:30Новий сезон "Бріджертонів": Netflix розпочне зйомки 5-ї частини вже незабаром
-
09:00Чак Норріс святкує день народження: згадуємо меми про людину, якої бояться закони фізики
-
08:30Смерть і поховання Тараса Григоровича Шевченка: коли й чому помер Кобзар
-
08:00Крижаний погляд і сталевий характер: культові ролі Шерон Стоун, які зробили її легендою
-
07:00Зворушують до мурах: українські артисти, які по-особливому виконали Державний гімн України
-
06:00Історія походження імені Віктор – розповідаємо до дня ангела 10 березня
-
05:30Вівторок із сюрпризом: зірки назвали знаки, яким варто діяти прямо зараз
-
05:00Значення імені Галини: походження, сумісність та день ангела 2026
-
03:05Вітаємо Галин: найтепліші привітання з Днем ангела 10 березня у картинках і прозі
-
21:22Яке свято відзначають 11 березня: традиції, заборони і прикмети на цей день
-
15:307 ознак, що чоловік більше вас не кохає: які зміни у поведінці не варто ігнорувати
-
10:00Він написав неофіційний гімн України: легендарні пісні Тараса Петриненка, якому – 73
-
07:00Зворушують до мурах: українські артисти, які по-особливому виконали Державний гімн України
-
05:30Вівторок із сюрпризом: зірки назвали знаки, яким варто діяти прямо зараз
- 09 березня
-
21:21Яке свято відзначають 10 березня: традиції, заборони і прикмети на цей день
-
19:30Олена Тополя розкрила, як змінилася її вага після гучного розлучення з Тарасом Тополею
-
17:30LELÉKA презентувала конкурсну версію пісні Ridnym для Євробачення-2026
-
05:30Не починайте тиждень без цього: гороскоп на 9 березня для всіх знаків
- 08 березня
-
21:23Яке свято відзначають 9 березня: традиції, заборони і прикмети на цей день
-
20:35Небезпечні вазони вдома – ці популярні кімнатні рослини можуть нашкодити дітям і тваринам
-
13:30Пам'ятники Тарасу Шевченку в Україні та світі: підбірка 5 найкращих ідей
-
10:00"Прикриваю очі рукою": Олександр Рудинський відверто розповів про зйомки в інтимних сценах
-
07:00Хто такий Леонід Осика: історія культового режисера українського поетичного кіно
-
05:30Весна, любов і зірки: що чекає кожен знак Зодіаку у Міжнародний жіночий день
- 07 березня
-
20:23Яке свято відзначають 8 березня: традиції, заборони і прикмети на цей день
-
16:30Родзинки чи ізюм: як правильно називати сушений виноград українською
-
13:00Подарунки жінкам-військовим до 8 березня: обирайте найкращий презент
-
10:00Зворушливі пісні про сильних і незалежних жінок – плейлист до 8 березня
-
08:00Романтичні вірші про прекрасну стать: поезія про жінок до 8 березня
-
07:00Хто така Амалія Рубель: історія жінки, яка очолювала український жіночий рух
-
05:30Не виходьте з дому без цього: що зірки приготували вам на суботу
- 06 березня
-
21:22Яке свято відзначають 7 березня: традиції, заборони і прикмети на цей день
-
17:00Міжнародний жіночий день 8 березня – підбірка фільмів про романтичних та сильних леді
-
14:35До Землі наближається магнітна буря: коли очікувати та кому варто бути обережним