На вказану електронну адресу було надіслано повідомлення для підтвердження реєстрації
Ілон Маск натякнув на вихід бюджетної Tesla на ринок Європи
- 119
Компанія Tesla може випустити доступний хетчбек для європейського ринку, який буде оновленою та здешевленою версією електричного седана Model 3. Підозрюємо, що такі плани виникли для того, аби конкурувати з електричними версіями Volkswagen.
Під час наради з інвесторами й аналітиками Маск зазначив, що у компанії "не вийде досягти успіху у своїй місії, якщо ми не зробимо машини доступними". Глава компанії додав, що занадто висока ціна електрокарів – одна з основних проблем Tesla, що викликають у нього занепокоєння.
Це цікаво: Створено Tinder для власників Tesla
"Було б розумно випустити якийсь компактний автомобіль і, можливо, ще одну модель більшої місткості", – сказав Маск.
Іншої інформації про можливу новинку він не надав. За даними Autocar, базою для хетчбека стане найдоступніша модель у лінійці Tesla – Model 3, а збірку можуть налагодити на заводі американської компанії Gigafactory 4 у Німеччині. На сьогодні "Гігафабрика" ще не добудована. За планами Маска, вона почне випускати електрокари Tesla Model 3 і Tesla Model Y і комплектуючі вже в наступному році.
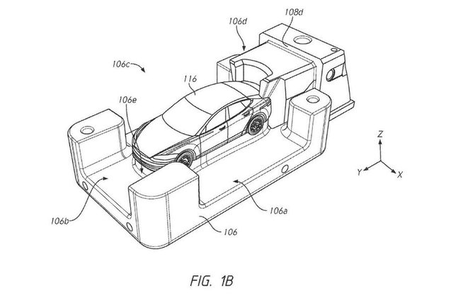
Раніше глава Tesla розповідав про нову технологію, охарактеризовану як "революція в автомобільному кузовобудуванні", і гігантської машини для лиття алюмінію, яка з'явиться на підприємстві. За його словами, технологія дозволяє скоротити кількість окремих частин рами автомобіля з 70 до двох, роблячи виробництво простішим і дешевшим. Ймовірно, перша європейська "Гігафабрика" і машина, яка спрощує виготовлення кузовів, допоможуть прискорити створення нових моделей.
Патент на побудову кузовів для Tesla
Наразі у лінійку Tesla входять чотири електрокари: Model X, Model Y, Model S і Model 3. Останній – найдешевший автомобіль марки і коштує він у США від 37 990 доларів.
Читайте також: Названі найшвидші моделі Tesla: дивіться драйвове відео
-
19:30Анджеліна Джолі оприлюднила кадри стійкості українців до річниці повномасштабної війни
-
19:22Віталій Козловський пояснив, чому його син не знає жодного слова російською
-
18:30Анна Саліванчук назвала головну вимогу до майбутнього чоловіка: “Повинен мати гроші”
-
17:35"Моя душа": донька та сестра Олі Фреймут зворушливо привітали телеведучу з 44-річчям
-
16:45Ретроградний Меркурій у Рибах – три знаки Зодіаку відчують максимальний тиск
-
Українські патріотичні пісні: плейлист, який підіймає дух
-
16:35"Планувала свою смерть": LELEKA приголомшила зізнанням про боротьбу з депресією
-
16:00Указ президента від 24 лютого: хто з українських акторів отримав орден "За заслуги"
-
15:35Універсальна томатна підлива за 15 хвилин – рятівник для швидкого обіду
-
15:30Зухвале пограбування в басейні: Кудашова залишилася без обіду через місцеву "злодійку"
-
14:23“Я вважаю вбивцями”: Дмитро Рибалевський різко висловився про російську мову в Києві
-
13:41Як швидко зняти стрес та перезавантажитися: ефективні поради для кожного
-
13:35Як врятувати клавіатуру, якщо на неї пролилася рідина – поради від експертів
-
12:35Банан – не просто перекус: чому ця "ягода" потрібна щодня
-
З Днем народження: топ 75 привітань у картинках, віршах, прозі та смс українською
-
11:38Валерій Харчишин заговорив про нові стосунки після розриву з Яніною Соколовою
-
11:325 помилок у догляді за пензлями, які псують макіяж і шкіру: ти точно миєш їх неправильно
-
10:42Ще болить, – MELOVIN уперше прокоментував розрив із нареченим-військовим
-
10:20"Стоп-день", коли візит до перукаря стане катастрофою: місячний календар стрижок у березні
-
09:35Андрій Хливнюк з “Бумбокс” розповів про перше поранення на війні та повернення на фронт
-
08:35Тарас Цимбалюк похизувався розкішшю: Iphone 17, Balenciaga та Audemars
-
06:30Одна помилка – і доведеться все переробляти: що чекати кожному знаку цього четверга
- 25 лютого
-
23:40Злата Огнєвіч переходить на англійську – співачка інтригує прем’єрою "One Day"
-
21:50Charli XCX майже повністю почистила свою сторінку в інстаграмі: що сталося
-
21:35Як часто прати лежанку собаки – порада ветеринара, яка здивує
-
19:30Анджеліна Джолі оприлюднила кадри стійкості українців до річниці повномасштабної війни
-
16:00Указ президента від 24 лютого: хто з українських акторів отримав орден "За заслуги"
-
10:20"Стоп-день", коли візит до перукаря стане катастрофою: місячний календар стрижок у березні
-
06:30Одна помилка – і доведеться все переробляти: що чекати кожному знаку цього четверга
- 25 лютого
-
21:23Яке свято відзначають 26 лютого: традиції, заборони і прикмети на цей день
-
17:03Як попросити чоловіка дарувати квіти: 5 делікатних способів натякнути без сварок
-
13:05Збережіть собі, щоб не загубити: календар іменин на березень 2026 року
-
07:00Плющ, Лісова пісня, Гордий Промінь – добірка пісень на слова Лесі Українки
-
06:30Середа, яка "вмикає тверезість": прогноз для усіх знаків Зодіаку на сьогодні
- 24 лютого
-
21:22Яке свято відзначають 25 лютого: традиції, заборони і прикмети на цей день
-
20:15Принц Гаррі зворушливо звернувся до українців у четверту річницю вторгнення
-
18:25Зірка "Володаря перснів" зворушив світ читанням поезії українського ветерана Артура Дроня
-
16:35Відмовилася від розкоші: донька мільйонера Гаріка Корогодського розповіла про ЗСУ
-
13:05Коли буде Благовіщення Пречистої Діви Марії: церковний календар на березень 2026 на щодень
-
10:00"Хочу відчути цю енергію": Віталій Козловський зізнався, що мріє про народження доньки
-
07:00До річниці повномасштабного вторгнення 24 лютого: сильні молитви за Україну
-
06:30Вівторок "вмикає правду": кому відкриється шанс, а кому краще пригальмувати
- 23 лютого
-
21:22Яке свято відзначають 24 лютого: традиції, заборони і прикмети на цей день
-
17:00Тіна Кароль запускає другий сезон проєкту "Дім Звукозапису": першою гостею стала DOROFEEVA
-
09:32Березень 2026 натисне "перезапуск": прогноз на місяць для кожного знака Зодіаку
-
06:30Цей день покаже, хто на твоєму боці: гороскоп на понеділок для всіх знаків Зодіаку
- 22 лютого
-
21:21Яке свято відзначають 23 лютого: традиції, заборони і прикмети на цей день
-
20:00Чому 23 лютого українкам не треба вітати чоловіків: історія свята
-
18:40"Курган & Agregat" запустили флешмоб зі шкільними фото – зірки масово підхопили тренд
-
12:31Топ-5 небезпечних продуктів для собак: чим не можна годувати улюбленця