На вказану електронну адресу було надіслано повідомлення для підтвердження реєстрації
У Samsung Galaxy Note 10 приберуть селф-камеру
- 250
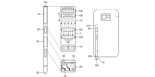
Прагнення зробити смартфон повністю безрамковим змушує виробників шукати нові способи розміщення селф-камери. Спочатку для них використовувалися "вирізи", потім з'явилися висувні модулі, за ними – слайдери, наприклад Xiaomi Mi Mix 3, а зовсім недавно в хід пішли і дисплеї з отворами.
Судячи за новим патентом Samsung, є і куди більш оригінальний варіант, що не вимагає додаткових приводів і порушення цілості екранної матриці. Інженери компанії вирішили вбудувати селф-камеру прямо в стилус S Pen, яким комплектуються флагмани серії Galaxy Note.
І ще: Стало відомо, коли Huawei представить флагманський смартфон
Відповідно до опису та креслення, камера буде встановлена у верхній частині стилуса, тобто протилежній від наконечника. Таке розміщення дозволить оснастити фотомодуль системою оптичного зуму, яка також згадується у патентній заявці.
Не виключено, що верхня частина з камерою зможе відгинатися на 90 градусів, що дозволить робити селфі, не дістаючи стилус повністю. Втім, навіть без цього сценаріїв застосувань такого варіанту S Pen можна придумати чимало.
Звичайно, схвалений патент не означає, що цю технологію ось-ось почнуть впроваджувати. Однак у цьому випадку це дійсно можливо. Адже істотних відмінностей між флагманами Galaxy S + і Galaxy Note з кожним роком стає все менше. Спроба виділити таким чином найдорожчу лінійку виглядала б цілком доречно.
Читайте також: Xiaomi запатентувала діряві екрани: дурня чи інновація?
-
01:0519 березня – іменини Дарини: привітання своїми словами і картинки зі святом
- 18 березня
-
22:14Григорій Решетнік відповів на критику через привітання з 8 березня: "Я перепрошую у жінок"
-
21:21Яке свято відзначають 19 березня: традиції, заборони і прикмети на цей день
-
15:20Український актор розповів, як фальшиві звинувачення зруйнували його життя та здоров’я
-
14:05“Я помилилася”: Наталія Могилевська вибачилася перед шанувальницею після виступу
-
Українські патріотичні пісні: плейлист, який підіймає дух
-
12:30Чи будуть в Україні переводити годинники на літній час 2026: що варто знати
-
11:41Що потрібно, щоб по-справжньому насолоджуватися кавою
-
10:35Після Премії Оскар зал залишився заваленим сміттям — фото обурили мережу
-
09:30"Пастка співчуття": кастинг-директорка пояснила, як кіно формує образ “хорошого росіянина”
-
08:35Іспит з водіння: як не розгубитися за кермом і скласти з першої спроби
-
07:00До дня народження Люка Бессона: підбірка ТОП-5 найкращих фільмів режисера
-
05:30Середа без компромісів: що зірки приготували кожному знаку 18 березня
- 17 березня
-
23:00Гриби з картоплею за 20 хвилин: як приготувати ситну вечерю без зайвих зусиль
-
З Днем народження: топ 75 привітань у картинках, віршах, прозі та смс українською
-
22:45MELOVIN підтвердив профіль у Tinder і розповів, чому розійшовся з нареченим
-
22:00Дженніфер Лопес у міні вразила після концерту: зірка влаштувала фотосесію у Лас-Вегасі
-
21:45Олена Тополя розкрила правду про розлучення з Тарасом: "Все, нема сім'ї, як такої"
-
21:21Яке свято відзначають 18 березня: традиції, заборони і прикмети на цей день
-
21:00Всього один овоч – і крашанки стануть яскравими: як пофарбувати яйця буряком до Великодня
-
20:35Шон Пенн проміняв Голлівуд на Україну – і отримав "Оскар" із уламків після атаки РФ
-
20:00Вдова соліста гурту ADAM зізналася про біль після втрати: як вона переживає трагедію
-
19:40MELOVIN назвав психлікарню "порятунком" і порадив українцям лікувати менталку
-
19:40Суддя "Танцюють всі" Франциско Гомес заручився з коханим: романтичні кадри
-
19:25"Диявол носить Prada": діалог Енн Гетевей та Анни Вінтур на Оскарі-2026 підкорив мережу
- 18 березня
-
21:21Яке свято відзначають 19 березня: традиції, заборони і прикмети на цей день
-
08:35Іспит з водіння: як не розгубитися за кермом і скласти з першої спроби
-
07:00До дня народження Люка Бессона: підбірка ТОП-5 найкращих фільмів режисера
-
05:30Середа без компромісів: що зірки приготували кожному знаку 18 березня
- 17 березня
-
21:21Яке свято відзначають 18 березня: традиції, заборони і прикмети на цей день
-
20:35Шон Пенн проміняв Голлівуд на Україну – і отримав "Оскар" із уламків після атаки РФ
-
17:35Як здати теорію на права з першого разу: прості лайфхаки, які реально працюють
-
10:00Мене розпирає, – Полякова поскаржилася на ставлення поляків під час перетину кордону
-
07:01"Голлівуд", "Доля", "Дикий звір" – добірка нових та переспіваних треків EL Кравчука
-
05:3017 березня – день контрастів: несподівані повороти і нові можливості для трьох знаків
- 16 березня
-
21:23Яке свято відзначають 17 березня: традиції, заборони і прикмети на цей день
-
05:30Новий тиждень – нові правила: несподіваний гороскоп на 16 березня для всіх знаків
- 15 березня
-
22:00Яке свято відзначають 16 березня: традиції, заборони і прикмети на цей день
-
16:00Регулярне вживання алкоголю може нашкодити: який напій здатен призвести до гіпертонії
-
13:35На якій руці міряти тиск: лікарі пояснили важливу деталь, про яку мало хто знає
-
12:00Три квітки, які можна сіяти просто в ґрунт: клумба буде пишною без розсади
-
07:00До дня народження Єви Лонгорії 15 березня – дивіться кращі стрічки з її участю
-
05:30Відпустіть зайве і відкрийтесь новому: гороскоп на 15 березня для всіх знаків Зодіаку
- 14 березня
-
22:00Яке свято відзначають 15 березня: традиції, заборони і прикмети на цей день
-
18:00Прикмети про погоду у квітні: що віщують дощі, вітер і навіть цвітіння рослин
-
14:00Ніколи не бронюйте готель, якщо бачите ці 5 сигналів: туристи часто ігнорують їх
-
13:05Тарас Цимбалюк різко прокоментував чутки про роман з Оленою Світлицькою
-
10:00Олександр Усик уперше з'явився на обкладинці Vogue Ukraine: яскраві знімки легенди
-
05:30Три знаки Зодіаку отримають несподіваний знак долі в суботу 14 березня
- 13 березня
-
21:22Яке свято відзначають 14 березня: традиції, заборони і прикмети на цей день