На вказану електронну адресу було надіслано повідомлення для підтвердження реєстрації
Apple оснастить гнучкий iPhone підігрівом екрану, – ЗМІ
- 149
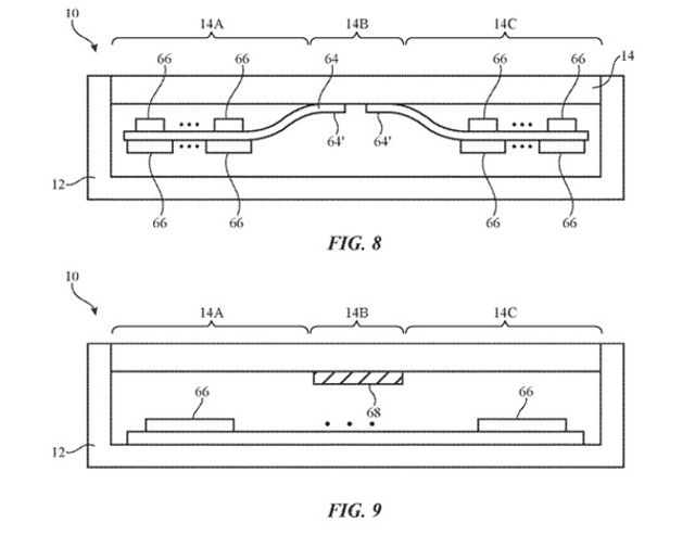
У заявці на патент від Apple зазначено про підігріві дисплея, який ймовірно отримає майбутній гнучкий iPhone. Це вимушений захід для уникнення небажаного пошкодження екрану при впливі низьких температур.
Зазначається, що при теплих температурах складні системи можуть працювати нормально, то в умовах холоду клеї та інші елементи, що використовуються у виробництві пристрою, можуть стати більш уразливими.
І ще: Стало відомо, коли вийде AirPods 2
Це, в свою чергу, може викликати небажаний знос або пошкодження дисплея при роботі в таких умовах. Щоб уникнути шкідливого впливу Apple пропонує прогріти область панелі дисплея, де відбувається згин.
Читайте також: Apple нарешті пояснила дорожнечу iPhone
- 19 травня
-
22:00Чому українці по всьому світу дедалі частіше вдягають вишиванки не лише на свята
-
21:23Яке свято відзначають 20 травня: традиції, заборони і прикмети на цей день
-
21:00День вишиванки 2026 – як українці перетворили міста на справжній етнофест
-
20:25"Припинда" повертається: старовинне українське слово раптово стало модним у TikTok
-
19:30Як позбутися запаху кота вдома – прості лайфхаки, які реально працюють
-
Українські патріотичні пісні: плейлист, який підіймає дух
-
18:00Чому коти люблять спати в ногах господаря – ветеринари пояснили милий сигнал довіри
-
17:28Не лише цукор: які добавки в продуктах можуть нашкодити здоров’ю
-
17:15У Києві хочуть підвищити проїзд до 30 гривень: коли можуть запровадити нові тарифи
-
17:00Червень змінить правила гри: зірки назвали знаки, яких чекає найсильніший місяць року
-
16:10У Молдові скандал через бали журі на Євробаченні: глава мовника подав у відставку
-
15:00Морква звариться за 5 хвилин: кухарі розкрили простий лайфхак для господинь
-
14:00Вареники з полуницею будуть ніжні, як хмаринка: рецепт сезонної страви на парі
-
13:00Штраф за бузок: чому українцям забороняють ламати квітучі кущі навесні
-
З Днем народження: топ 75 привітань у картинках, віршах, прозі та смс українською
-
12:00Як позбутися тривожності та перестати себе накручувати: прості поради на кожен день
-
11:00Джинси довше виглядатимуть як нові: яку помилку під час прання роблять майже всі
-
10:10LELÉKA повернулася до Києва після Євробачення-2026: що планує робити далі
-
10:00Коли йти по гриби: у який час та за якої погоди збирати найбільший урожай
-
09:00Одяг довше залишатиметься яскравим: який режим прання обрати, щоб речі не втрачали колір
-
05:30Зірки назвали знаки, яким 19 травня принесе несподіваний поворот
-
01:40Вітаємо з Днем сімейної медицини: найкращі привітання для лікарів, які турбуються про нас
- 18 травня
-
21:23Яке свято відзначають 19 травня: традиції, заборони і прикмети на цей день
-
15:13Брендована продукція для бізнесу: які корпоративні сувеніри справді працюють на впізнавані
-
15:10Свічка парфумована для релаксації: як створити домашній SPA
- 19 травня
-
21:23Яке свято відзначають 20 травня: традиції, заборони і прикмети на цей день
-
17:15У Києві хочуть підвищити проїзд до 30 гривень: коли можуть запровадити нові тарифи
-
17:00Червень змінить правила гри: зірки назвали знаки, яких чекає найсильніший місяць року
-
10:10LELÉKA повернулася до Києва після Євробачення-2026: що планує робити далі
-
05:30Зірки назвали знаки, яким 19 травня принесе несподіваний поворот
- 18 травня
-
21:23Яке свято відзначають 19 травня: традиції, заборони і прикмети на цей день
-
05:30Не розганяйтеся сьогодні: 18 травня нагороджує тих, хто діє точно, а не швидко
- 17 травня
-
21:22Яке свято відзначають 18 травня: традиції, заборони і прикмети на цей день
-
05:30Забудьте про обережність: 17 травня зірки винагороджують тих, хто ризикує мріяти
-
02:00Хто переміг на Євробаченні-2026: чи вдалось фаворитам посісти 1 місце
- 16 травня
-
21:21Яке свято відзначають 17 травня: традиції, заборони і прикмети на цей день
-
19:15Гавкала та кричала: Брітні Спірс потрапила у скандал через поведінку в ресторані
-
19:00Домашній соус барбекю за 10 хвилин – рецепт, після якого магазинний більше не захочеться
-
14:55Гранд-фінал Євробачення-2026: коли виступить Україна та де дивитися конкурс
-
05:30Не чіпляйтеся за минуле: кому 16 травня зірки дають зелене світло на новий старт
- 15 травня
-
21:23Яке свято відзначають 16 травня: традиції, заборони і прикмети на цей день
-
05:3015 травня покаже, які стосунки тримаються на чомусь справжньому – а які лише на звичці
- 14 травня
-
21:23Яке свято відзначають 15 травня: традиції, заборони і прикмети на цей день
-
13:55Олена Тополя зізналася, за яку суму готова знову поїхати на Євробачення
-
05:30Зорі попереджають: 14 травня покаже слабкі місця в планах – і це найкраще за сьогодні
- 13 травня
-
21:23Яке свято відзначають 14 травня: традиції, заборони і прикмети на цей день
-
19:30LELÉKA розкрила бюджет участі у Євробаченні: скільки коштує номер співачки
-
17:00Сушений імбир виявився кориснішим за свіжий: вчені пояснили, як він допомагає імунітету
-
05:3013 травня – день гучних кроків: зірки кажуть, що час вийти з тіні й заявити про себе
- 12 травня
-
21:22Яке свято відзначають 13 травня: традиції, заборони і прикмети на цей день