На вказану електронну адресу було надіслано повідомлення для підтвердження реєстрації
Amazon запатентувала металеві клітки для співробітників
- 188
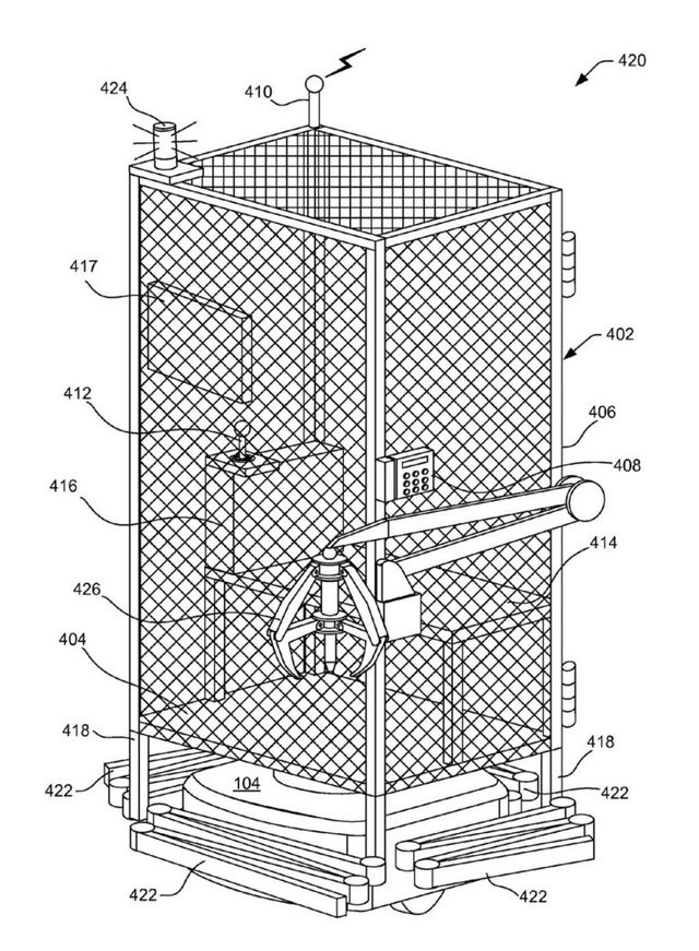
Компанія Amazon у 2016 році запатентувала металеві клітки для перевезення співробітників по складах компанії. Патент отримав назву "Система та метод транспортування персоналу в зоні активної роботи".
Згідно з задумом, пересувні металеві клітки повинні захищати співробітників компанії, які працюють в складських приміщеннях, від всіляких роботизованих пристроїв під час переміщення на великі відстані. Наприклад, такі клітки будуть корисні при перетині робочої зони, щоб дістатися до кімнати відпочинку, або для лагодження несправного робота.
І ще: Amazon наймає людей для написання постів у Twitter
"Я впевнений, що клітка була розроблена для безпеки працівників. Крім того, цей патент був опублікований кілька років тому. Багато великих компаній подають дивні заявки на патенти", – написав один з амбасадорів Amazon в Twitter.
Патент також прокоментував старший віце-президент Amazon з операційної діяльності Дейв Кларк.
"Іноді навіть погані ідеї перетворюються на патенти. Ми ніколи не використовували цю технологію і не плануємо. Ми розробили краще рішення: маленькі жилети, які змушують будь-які роботизовані пристрої зупинятися, коли вони підходять до людини", – прокоментував Кларк.
Читайте також: Глава Amazon поскаржився, що не знає, куди дівати свої мільярди
-
05:30Забудьте про важкий старт тижня у понеділок: зірки обіцяють зовсім інше
- 10 травня
-
21:22Яке свято відзначають 11 травня: традиції, заборони і прикмети на цей день
-
13:20Charli XCX презентувала новий сингл і кліп Rock Music: чи це справді це перехід в рок-еру
-
12:05Квіти для чоловіків: Чому сильна стать приховує свою радість
-
11:10Нікітюк розчулила мережу новими кадрами з 10-місячним Оскаром
-
Українські патріотичні пісні: плейлист, який підіймає дух
-
10:10Apple виплатить компенсації власникам iPhone: хто може отримати до 95 доларів
-
05:3010 травня не женіться за результатом: сьогодні зірки цінують тих, хто вміє просто бути
- 09 травня
-
21:23Яке свято відзначають 10 травня: традиції, заборони і прикмети на цей день
-
21:00Полуниця в шоколаді – десерт, який щоліта знову стає головною слабкістю
-
20:00Не тільки зовнішність: психолог назвав три звички, які тримають "хімію" у стосунках
-
19:00Кіт спить біля вашої голови не просто так: що насправді стоїть за цією звичкою
-
18:00Телефон псує настрій ще до сніданку: ранкова звичка, яка виснажує мозок
-
17:25Люди дедалі рідше телефонують: що поступово замінило звичайні дзвінки
-
З Днем народження: топ 75 привітань у картинках, віршах, прозі та смс українською
-
17:10Світанок з бузками у Ботсаду у Києві: блогерка поділилася порадами, як і коли краще йти
-
16:10Шаламе, Мессі та Bad Bunny у новій рекламі Adidas: зірки знялися у короткометражці
-
15:00Кавуни виростуть солодшими за мед: коли висаджувати баштанні, щоб зібрати рекордний урожай
-
14:00Яблук більше, ніж тіста: як приготувати ніжний іспанський пиріг до чаю
-
13:00Як оновити кухню без ремонту: прості дизайнерські хитрощі, які змінять простір
-
12:00Сковорідка прослужить роками: як правильно мити керамічний посуд без подряпин і тріщин
-
11:00Капці перестануть смердіти вже після одного прання: як правильно їх очищати та сушити
-
10:00Помилки з грошима, які роблять майже всі: як перестати витрачати зарплату на дрібниці
-
09:00Ідеальне укладання без фена: секрети, які допоможуть зробити волосся об’ємним і блискучим
-
05:309 травня – день дій, а не роздумів: зірки дали старт, і зупинятися не можна
-
05:30Забудьте про важкий старт тижня у понеділок: зірки обіцяють зовсім інше
- 10 травня
-
21:22Яке свято відзначають 11 травня: традиції, заборони і прикмети на цей день
-
13:20Charli XCX презентувала новий сингл і кліп Rock Music: чи це справді це перехід в рок-еру
-
10:10Apple виплатить компенсації власникам iPhone: хто може отримати до 95 доларів
-
05:3010 травня не женіться за результатом: сьогодні зірки цінують тих, хто вміє просто бути
- 09 травня
-
21:23Яке свято відзначають 10 травня: традиції, заборони і прикмети на цей день
-
17:10Світанок з бузками у Ботсаду у Києві: блогерка поділилася порадами, як і коли краще йти
-
05:309 травня – день дій, а не роздумів: зірки дали старт, і зупинятися не можна
- 08 травня
-
21:22Яке свято відзначають 9 травня: традиції, заборони і прикмети на цей день
-
19:20Ігор Кондратюк прокоментував скандал на "Караоке на Майдані" через нібито хабар за виступ
-
17:10"Впевнена, наш вибір – правильний": Руслана висловилася про шанси LELÉKA на Євробаченні
-
05:30Гороскоп на п'ятницю: зірки дають дозвіл на слабкість – і це найсильніше, що можна зробити
- 07 травня
-
21:22Яке свято відзначають 8 травня: традиції, заборони і прикмети на цей день
-
17:10LELÉKA провела першу репетицію на сцені Євробачення-2026 у Відні: який у неї образ
-
13:04"Рік і Морті" повертаються у травні: чому дев'ятий сезон обіцяє бути найкращим
-
10:10Ліна Костенко презентувала нову збірку "Вітер з Марса": перший наклад уже розкупили
-
05:30Гороскоп на четвер: зірки дають шанс на прорив, але лише тим, хто не мовчить сьогодні
- 06 травня
-
21:22Яке свято відзначають 7 травня: традиції, заборони і прикмети на цей день
-
19:41Букмекери оновили прогнози на Євробачення-2026: Україна вилетіла з першої десятки
-
17:102 легенди – разом: Мадонна й Анна Вінтур знялися у проморолику до нового альбому співачки
-
05:306 травня перевірить на міцність: не всі знаки Зодіаку витримають
- 05 травня
-
21:22Яке свято відзначають 6 травня: традиції, заборони і прикмети на цей день
-
05:30Гороскоп попереджає: 5 травня відкриє вікно можливостей – і воно не буде відчиненим довго
- 04 травня
-
21:22Яке свято відзначають 5 травня: традиції, заборони і прикмети на цей день
-
21:00Побачення після розлучення – як почати нове життя і не наробити старих помилок