На вказану електронну адресу було надіслано повідомлення для підтвердження реєстрації
Apple працює над новою формою смарт-годинника
- 223
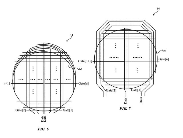
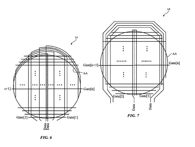
У вівторок купертінівська компанія отримала патент на дисплей круглої форми.
В описі розробки зазначено, що Apple застосує її для "електронного пристрою з закругленими краями екрану". Ймовірно, незабаром виробник випустить фірмовий смарт-годинник Apple Watch з круглим дисплеєм замість звичної квадратної матриці.
І ще: Android P: основні нововведення операційної системи від Google
Патентна заявка надійшла в бюро через кілька місяців після виходу останнього покоління Apple Watch, тому на ескізах зображений новий дизайн годин, а не відхилений старий. Тим часом є шанси, що компанія запатентувала круглий дисплей лише для підстрахування і не збирається випускати Watch в корпусі нової форми.
У патенті Apple відзначила, що крайні пікселі неефективно розміщуються на круглих дисплеях, але виробник вирішить цю проблему. У заявці також є список пристроїв, до яких застосовується патент: крім годинників там виявилися кулони, навушники й окуляри.
Нагадаємо, раніше в мережі з'являлися чутки про гарнітуру віртуальної та доповненої реальності "яблучного" бренду – можливо, круглий дисплей з'явиться і там.
Читайте також: Xiaomi анонсувала спеціальну версію Mi Mix 2S і звичайний годинник
-
17:15Як красиво привітати керівника з Днем народження: найкращі вірші, проза, смс і щирі слова
-
17:07М’ясо по-французьки з сиром і грибами: як приготувати соковиту страву, яка підкорить всіх
-
16:50Українська співачка зізналась, як Поплавський відкрив їй дорогу на велику сцену
-
16:35Відмовилася від розкоші: донька мільйонера Гаріка Корогодського розповіла про ЗСУ
-
16:05Як дотримуватися Великого посту: що можна їсти, які правила та кому дозволені послаблення
-
Українські патріотичні пісні: плейлист, який підіймає дух
-
15:35Платиш зайве за світло – один дешевий засіб змусить холодильник "не жерти" кіловати
-
15:30Анастасія Коротка розповіла, як діти пережили розлучення з Андрій Бєдняков
-
15:00Навіщо додавати оцет під час прання: простий спосіб зробити речі свіжішими та чистішими
-
14:35Крутимо стрілки знову – коли Україна перейде на літній час у 2026 році
-
14:32"Мова душі": Ектор Хіменес-Браво розчулив зізнанням про своє улюблене українське слово
-
14:05Ніжний банановий торт без випікання: які інгредієнти потрібні та як приготувати десерт
-
13:35"Ці стосунки вже не повернути": Ольга Сумська про образу на Катерину Осадчу після інтерв'ю
-
13:05Коли буде Благовіщення Пречистої Діви Марії: церковний календар на березень 2026 на щодень
-
З Днем народження: топ 75 привітань у картинках, віршах, прозі та смс українською
-
12:45Які знаки Зодіаку забирають енергію – версія астрологів
-
12:30Мистецтво протесту: активісти розмістили фото арештованого експринца Ендрю в залах Лувру
-
12:00Квіти стоятимуть у вазі довше: додайте два прості інгредієнти з кухні
-
11:00Не Дантес: хто ще претендував на головну роль у еротичному трилері "Всі відтінки спокуси"
-
10:00"Хочу відчути цю енергію": Віталій Козловський зізнався, що мріє про народження доньки
-
09:00"Як у кіно": співачка KOLA розповіла про найвражаючий сюрприз від чоловіка у Римі
-
08:00Даша Квіткова відверто розповіла про спільний побут із футболістом Володимиром Бражком
-
07:00До річниці повномасштабного вторгнення 24 лютого: сильні молитви за Україну
-
06:30Вівторок "вмикає правду": кому відкриється шанс, а кому краще пригальмувати
-
05:00Коли святкують День ангела Івана у 2026 році: головні дати, традиції та що означає це ім’я
-
16:35Відмовилася від розкоші: донька мільйонера Гаріка Корогодського розповіла про ЗСУ
-
13:05Коли буде Благовіщення Пречистої Діви Марії: церковний календар на березень 2026 на щодень
-
10:00"Хочу відчути цю енергію": Віталій Козловський зізнався, що мріє про народження доньки
-
07:00До річниці повномасштабного вторгнення 24 лютого: сильні молитви за Україну
-
06:30Вівторок "вмикає правду": кому відкриється шанс, а кому краще пригальмувати
- 23 лютого
-
21:22Яке свято відзначають 24 лютого: традиції, заборони і прикмети на цей день
-
17:00Тіна Кароль запускає другий сезон проєкту "Дім Звукозапису": першою гостею стала DOROFEEVA
-
09:32Березень 2026 натисне "перезапуск": прогноз на місяць для кожного знака Зодіаку
-
06:30Цей день покаже, хто на твоєму боці: гороскоп на понеділок для всіх знаків Зодіаку
- 22 лютого
-
21:21Яке свято відзначають 23 лютого: традиції, заборони і прикмети на цей день
-
20:00Чому 23 лютого українкам не треба вітати чоловіків: історія свята
-
18:40"Курган & Agregat" запустили флешмоб зі шкільними фото – зірки масово підхопили тренд
-
12:31Топ-5 небезпечних продуктів для собак: чим не можна годувати улюбленця
-
06:3022 лютого подарує справжню несподіванку: гороскоп на неділю для всіх знаків
- 21 лютого
-
19:31Яке свято відзначають 22 лютого: традиції, заборони і прикмети на цей день
-
13:33Блекаут і темрява: як вони впливають на психіку та 12 порад, які допоможуть знизити стрес
-
09:00Міжнародний день рідної мови 21 лютого: скільки разів і чому забороняли українську
-
06:30Субота, яка знімає рожеві окуляри: один знак отримає шанс на перезавантаження
- 20 лютого
-
21:22Яке свято відзначають 21 лютого: традиції, заборони і прикмети на цей день
-
13:00Хімія поза екраном: зірки фільму "Я, "Побєда" і Берлін" закохані в реальному житті
-
10:00Леся Нікітюк зворушила мережу фото з 8-місячним сином та показала його нові досясягнення
-
09:00Вшануймо пам'ять перших загиблих героїв Небесної сотні 20 лютого: імена та історія
-
06:30Один вчинок уранці – і день піде інакше: кому 20 лютого дасть "зелене світло"
- 19 лютого
-
21:22Яке свято відзначають 20 лютого: традиції, заборони і прикмети на цей день
-
18:00Христина Соловій готує альбом у стилі 90-х та дует із легендарною Сестричкою Вікою