На вказану електронну адресу було надіслано повідомлення для підтвердження реєстрації
Apple запатентувала новий гаджет для вимірювання тиску
- 183
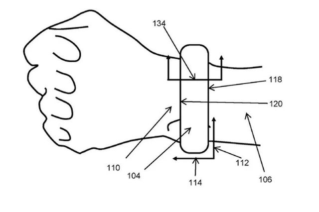
Компанія запатентувала дизайн для переносного монітору артеріального тиску – манжети, забезпечені датчиком, який відстежує тиск. Ця технологія може бути використана в новому поколінні розумних годин Apple Watch.
Відзначається, що патент описує пристрій в загальних термінах. Зокрема, в новому гаджеті будуть встановлені система вимірювання артеріального тиску, що містить датчик тиску; розширюючий елемент, що містить безліч розширюючих осередків і виконавчий механізм.
Це цікаво: Тім Кук зробив неочікуване зізнання про iPhone
Відповідно до патенту Apple, їхній пристрій повинен мати один датчик для вимірювання тиску крові, коли вона протікає через руку або ногу користувача. Існує також "виконавчий механізм" для вимірювання того, який тиск необхідно вважати хорошим.
У світі, де проблеми з високим тиском зустрічаються все частіше, поява Apple в цьому секторі споживчого ринку охорони здоров'я матиме сенс. Але поки невідомо, чи планує компанія запропонувати окремо новий пристрій або якимось чином інтегрувати його з платформою Apple Watch або самим пристроєм Apple Watch.
Отримання патенту означає, що компанії доведеться пройти безліч тестів від організації FDA, які повинні проконтролювати розвиток першого повнофункціонального медичного пристрою Apple до того, як воно потрапить на ринок.
Читайте також: Слайд з конференції Apple став мемом
Цей матеріал має винятково інформаційний характер і не містить жодних порад, діагнозів чи висновків, що стосуються вашого здоров'я. Якщо вам потрібні встановлення діагнозу, консультація медика або лікування, зверніться до фахівця.
-
05:30Меркурій і Сатурн влаштують перевірку: три знаки Зодіаку 13 квітня відчують це першими
-
04:30Поливаний понеділок: чому обливають водою і що категорично не можна робити в цей день
-
02:30З Днем працівника ОПК: привітання для тих, кого не видно, але без кого не перемогти
- 12 квітня
-
23:40Найвпертіший знак зодіаку: хто завжди добивається свого
-
22:40Запечений камамбер з карамелізованою грушею – проста страва, яка виглядає як з ресторану
-
Українські патріотичні пісні: плейлист, який підіймає дух
-
21:40Чому важливо перевіряти тиск у шинах – проста звичка, яка економить гроші
-
21:22Яке свято відзначають 13 квітня: традиції, заборони і прикмети на цей день
-
20:35Туристи в Європі роблять одні й ті самі помилки у транспорті – як їх уникнути
-
20:19Коли краще не ходити в гості – народні прикмети, які досі працюють
-
18:35Газована вода замість кави – неочікуваний лайфхак для концентрації
-
17:35Телебачення для собак набирає популярності – чи справді воно працює
-
15:00Петрушка ростиме шалено: секретний метод посадки без жодного проріджування
-
14:00Справжня знахідка до чаю: як приготувати легендарне шоколадне печиво з тріщинками вдома
-
З Днем народження: топ 75 привітань у картинках, віршах, прозі та смс українською
-
13:00Ваша косметика полетить у смітник: які засоби суворо заборонено брати в салон літака
-
12:00Дім перестане бути тягарем: як організувати побут без стресу та звільнити час для себе
-
11:00Небезпечні не для всіх: які породи собак потребують досвіду і не підходять сім’ям
-
10:00Великдень 2026 в Україні: чи буде вихідний після свята та що зміниться для українців
-
09:00Як повернути рушникам м’якість: простий трюк із кондиціонером для волосся, який працює з п
-
07:34Христос Воскрес: найкращі привітання з Великоднем 12 квітня – для рідних, друзів і коханих
-
06:38Ці привітання з Великоднем 2026 розчулять до сліз: короткі, розлогі та у віршах
-
05:30Найсвітліший день року: що зірки підготували для кожного знака на Великдень 12 квітня
-
04:39Вірші на Великдень 2026: щирі поетичні привітання з Пасхою своїм близьким
-
02:25Привітання з Пасхою 2026: як гарно привітати у віршах, прозі та своїми словами
-
05:30Меркурій і Сатурн влаштують перевірку: три знаки Зодіаку 13 квітня відчують це першими
- 12 квітня
-
21:22Яке свято відзначають 13 квітня: традиції, заборони і прикмети на цей день
-
20:35Туристи в Європі роблять одні й ті самі помилки у транспорті – як їх уникнути
-
05:30Найсвітліший день року: що зірки підготували для кожного знака на Великдень 12 квітня
- 11 квітня
-
21:22Яке свято відзначають 12 квітня: традиції, заборони і прикмети на цей день
-
05:30Переддень Великодня – особливий день: детальний гороскоп на суботу 11 квітня
- 10 квітня
-
21:22Яке свято відзначають 11 квітня: традиції, заборони і прикмети на цей день
-
13:23Фото Євгена Малолєтки з наслідками російської атаки перемогло на World Press Photo 2026
-
10:10Вадику, попрощайся з усіма, – Полякова звернулася до чоловіка після скандального інтерв'ю
-
05:30Що принесе остання п'ятниця перед Великоднем: детальний гороскоп для всіх знаків Зодіаку
- 09 квітня
-
21:22Яке свято відзначають 10 квітня: традиції, заборони і прикмети на цей день
-
18:35Три знаки зодіаку вирвуться з чорної смуги вже після 9 квітня
-
10:30Не шикуємо, – Педан з дружиною розкрили свої місячні витрати та найдорожчу покупку
-
05:30Гороскоп на Чистий четвер 9 квітня: день, який змінить настрій перед Великоднем
- 08 квітня
-
21:22Яке свято відзначають 9 квітня: традиції, заборони і прикмети на цей день
-
17:05Леді Гага та Doechii записали саундтрек до "Диявол носить Прада 2"
-
05:30Прочитай перед тим, як починати середу: гороскоп на 8 квітня для всіх
- 07 квітня
-
16:00Яке свято відзначають 8 квітня: традиції, заборони і прикмети на цей день
-
10:07Коляденко публічно звернувся до Ірини Білик з нагоди свята
-
05:30Три знаки Зодіаку отримають важливий знак долі 7 квітня – перевір, чи є ти серед них
- 06 квітня
-
21:22Яке свято відзначають 7 квітня: традиції, заборони і прикмети на цей день
-
20:35Маша Єфросиніна "відповіла" на скандал з чоловіком Полякової – мережа в шоку
-
16:00До 56-річчя української виконавиці Ірини Білик – підбірка треків, які актуальні дотепер
-
05:30Цей понеділок буде не таким, як завжди: трьом знакам принесе несподіваний поворот долі
- 05 квітня
-
21:22Яке свято відзначають 6 квітня: традиції, заборони і прикмети на цей день