Вітаємо на сайті Радіо Максимум!
На вказану електронну адресу було надіслано повідомлення для підтвердження реєстрації
Вітаємо, Ваші дані успішно оновлено!
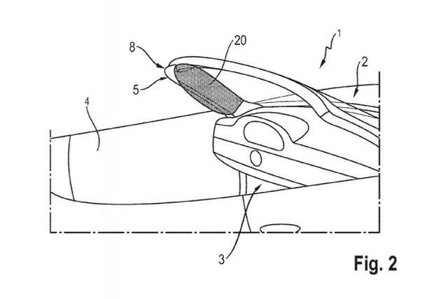
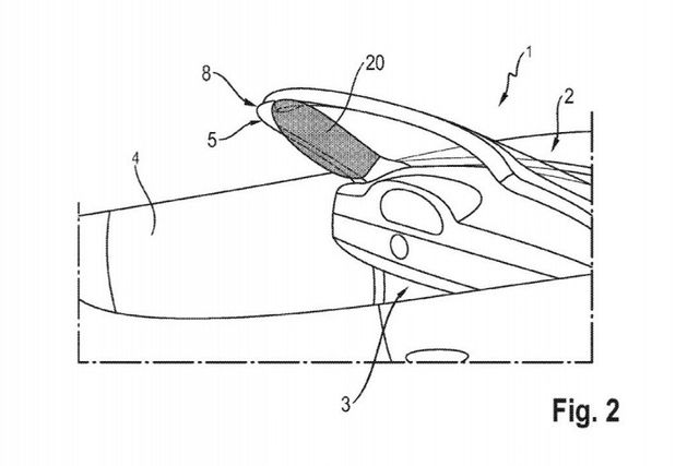
У Porsche винайшли революційну подушку безпеки
- 205
Німецький автомобільний виробник запатентував подушку безпеки для кабріолетів. Подушка розташовується на передній стійці з боку водія.
Передбачається, що вона захистить голову водія в тому випадку, якщо голова зісковзне з передньої подушки безпеки при фронтальному зіткненні з частковим перекриттям.
Такий краш-тест проводить, наприклад, американська організація NHTSA. У компанії не виключають, що в майбутньому нова технологія може бути впроваджена й в автомобілях з жорстким верхом.
Читайте також: Збережіть собі! Прості способи економити на бензині
Джерело: avtoblog.ua
Читай максимум цікавих новин у
Viber
пропозиції партнерів
Новини
- 17 травня
-
21:22Яке свято відзначають 18 травня: традиції, заборони і прикмети на цей день
-
05:30Забудьте про обережність: 17 травня зірки винагороджують тих, хто ризикує мріяти
-
02:00Хто переміг на Євробаченні-2026: чи вдалось фаворитам посісти 1 місце
- 16 травня
-
22:30Українці все частіше вкладають гроші у комфорт вдома – і справа не лише в ремонті
-
21:30Кава з фісташковою пастою стала новим трендом – чим корисний цей напій
-
Українські патріотичні пісні: плейлист, який підіймає дух
-
21:21Яке свято відзначають 17 травня: традиції, заборони і прикмети на цей день
-
21:00Стара люстра і трохи текстилю – дизайнери назвали прості способи освіжити дачу без ремонту
-
19:15Гавкала та кричала: Брітні Спірс потрапила у скандал через поведінку в ресторані
-
19:00Домашній соус барбекю за 10 хвилин – рецепт, після якого магазинний більше не захочеться
-
18:15Відсилання до "Азовсталі" та тризуба: єврофани розгледіли цікаві символи у номері LELÉKA
-
18:10Чому твій улюблений аромат називають "туалетною водою" – історія, яка тебе здивує
-
17:10Геть непотріб: 5 речей у твоєму авто, які назавжди залишаться в минулому у 2026 році
-
15:15Дитяче Євробачення-2026 відбудеться на Мальті: відомі дата та місце проведення
-
З Днем народження: топ 75 привітань у картинках, віршах, прозі та смс українською
-
15:00Півонії засиплють сад квітами: що потрібно зробити для тривалого та пишного цвітіння
-
14:55Гранд-фінал Євробачення-2026: коли виступить Україна та де дивитися конкурс
-
14:00Кекс у мікрохвильовці за 5 хвилин: як приготувати повітряний десерт із простих продуктів
-
13:00Що мають знати всі власники собак: три важливі поради від ветеринара для щасливого життя
-
12:00Волосся буде шалено пишним: як надати об'єм тонким пасмам у домашніх умовах
-
11:10Нервова система виснажується щодня: чому надмірне обдумування заважає жити спокійно
-
10:00Після весілля можуть не пустити в літак: у яких випадках пасажирам доведеться доплачувати
-
09:00Як наносити парфуми, щоб аромат тримався весь день: головні секрети стійкого шлейфу
-
05:30Не чіпляйтеся за минуле: кому 16 травня зірки дають зелене світло на новий старт
- 15 травня
-
23:10Ручне прання без помилок – які звички можуть зіпсувати ваш улюблений одяг
- 17 травня
-
21:22Яке свято відзначають 18 травня: традиції, заборони і прикмети на цей день
-
05:30Забудьте про обережність: 17 травня зірки винагороджують тих, хто ризикує мріяти
-
02:00Хто переміг на Євробаченні-2026: чи вдалось фаворитам посісти 1 місце
- 16 травня
-
21:21Яке свято відзначають 17 травня: традиції, заборони і прикмети на цей день
-
19:15Гавкала та кричала: Брітні Спірс потрапила у скандал через поведінку в ресторані
-
19:00Домашній соус барбекю за 10 хвилин – рецепт, після якого магазинний більше не захочеться
-
14:55Гранд-фінал Євробачення-2026: коли виступить Україна та де дивитися конкурс
-
05:30Не чіпляйтеся за минуле: кому 16 травня зірки дають зелене світло на новий старт
- 15 травня
-
21:23Яке свято відзначають 16 травня: традиції, заборони і прикмети на цей день
-
05:3015 травня покаже, які стосунки тримаються на чомусь справжньому – а які лише на звичці
- 14 травня
-
21:23Яке свято відзначають 15 травня: традиції, заборони і прикмети на цей день
-
13:55Олена Тополя зізналася, за яку суму готова знову поїхати на Євробачення
-
05:30Зорі попереджають: 14 травня покаже слабкі місця в планах – і це найкраще за сьогодні
- 13 травня
-
21:23Яке свято відзначають 14 травня: традиції, заборони і прикмети на цей день
-
19:30LELÉKA розкрила бюджет участі у Євробаченні: скільки коштує номер співачки
-
17:00Сушений імбир виявився кориснішим за свіжий: вчені пояснили, як він допомагає імунітету
-
05:3013 травня – день гучних кроків: зірки кажуть, що час вийти з тіні й заявити про себе
- 12 травня
-
21:22Яке свято відзначають 13 травня: традиції, заборони і прикмети на цей день
-
17:10"Диявол носить Прада 2" зібрав сотні мільйонів: відомі гонорари Меріл Стріп та Енн Гетевей
-
05:3012 травня вирішують емоції та внутрішній голос: якому знаку Зодіаку слід забути логіку
- 11 травня
-
21:22Яке свято відзначають 12 травня: традиції, заборони і прикмети на цей день
-
05:30Забудьте про важкий старт тижня у понеділок: зірки обіцяють зовсім інше
- 10 травня
-
21:22Яке свято відзначають 11 травня: традиції, заборони і прикмети на цей день
-
13:20Charli XCX презентувала новий сингл і кліп Rock Music: чи це справді це перехід в рок-еру
-
10:10Apple виплатить компенсації власникам iPhone: хто може отримати до 95 доларів