На вказану електронну адресу було надіслано повідомлення для підтвердження реєстрації
Toyota запатентувала незвичайну коробку передач
- 189
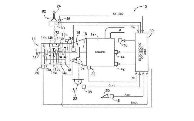
На сайті Відомства з патентів і товарних знаків США опублікований документ від компанії Toyota, в якому описується принцип роботи незвичайної коробки передач.
По суті, нова трансмісія - це механічна коробка передач з актуаторами, які не дозволяють помилитися з обраною передачею. Крім того, коробка самостійно зможе переходити в "нейтраль", розмикаючи зчеплення, щоб рухатися накатом і таким чином економити паливо - наприклад, при русі на круїз-контролі. Тобто, вийшов якийсь гібрид "механіки" з функціями "автомата". Нижче схема самої трансмісії:
Крім економії палива, нова коробка стане надійнішою завдяки оптимальному вибору передачі відповідно до поточних оборотів колінчастого вала двигуна та швидкості авто. Недосвідчений водій, який вирішив освоїти "механіку", тепер не глушить мотор на світлофорах, і не перекручує в червону зону - про це потурбувалася електроніка.
Втім, поки немає інформації про терміни появи такого типу коробки передач і переліку моделей, для яких вона буде доступна.
Читайте також: Названі найпрактичніші автомобілі 2017 року
-
21:22Яке свято відзначають 18 травня: традиції, заборони і прикмети на цей день
-
05:30Забудьте про обережність: 17 травня зірки винагороджують тих, хто ризикує мріяти
-
02:00Хто переміг на Євробаченні-2026: чи вдалось фаворитам посісти 1 місце
- 16 травня
-
22:30Українці все частіше вкладають гроші у комфорт вдома – і справа не лише в ремонті
-
21:30Кава з фісташковою пастою стала новим трендом – чим корисний цей напій
-
Українські патріотичні пісні: плейлист, який підіймає дух
-
21:21Яке свято відзначають 17 травня: традиції, заборони і прикмети на цей день
-
21:00Стара люстра і трохи текстилю – дизайнери назвали прості способи освіжити дачу без ремонту
-
19:15Гавкала та кричала: Брітні Спірс потрапила у скандал через поведінку в ресторані
-
19:00Домашній соус барбекю за 10 хвилин – рецепт, після якого магазинний більше не захочеться
-
18:15Відсилання до "Азовсталі" та тризуба: єврофани розгледіли цікаві символи у номері LELÉKA
-
18:10Чому твій улюблений аромат називають "туалетною водою" – історія, яка тебе здивує
-
17:10Геть непотріб: 5 речей у твоєму авто, які назавжди залишаться в минулому у 2026 році
-
15:15Дитяче Євробачення-2026 відбудеться на Мальті: відомі дата та місце проведення
-
З Днем народження: топ 75 привітань у картинках, віршах, прозі та смс українською
-
15:00Півонії засиплють сад квітами: що потрібно зробити для тривалого та пишного цвітіння
-
14:55Гранд-фінал Євробачення-2026: коли виступить Україна та де дивитися конкурс
-
14:00Кекс у мікрохвильовці за 5 хвилин: як приготувати повітряний десерт із простих продуктів
-
13:00Що мають знати всі власники собак: три важливі поради від ветеринара для щасливого життя
-
12:00Волосся буде шалено пишним: як надати об'єм тонким пасмам у домашніх умовах
-
11:10Нервова система виснажується щодня: чому надмірне обдумування заважає жити спокійно
-
10:00Після весілля можуть не пустити в літак: у яких випадках пасажирам доведеться доплачувати
-
09:00Як наносити парфуми, щоб аромат тримався весь день: головні секрети стійкого шлейфу
-
05:30Не чіпляйтеся за минуле: кому 16 травня зірки дають зелене світло на новий старт
- 15 травня
-
23:10Ручне прання без помилок – які звички можуть зіпсувати ваш улюблений одяг
-
21:22Яке свято відзначають 18 травня: традиції, заборони і прикмети на цей день
-
05:30Забудьте про обережність: 17 травня зірки винагороджують тих, хто ризикує мріяти
-
02:00Хто переміг на Євробаченні-2026: чи вдалось фаворитам посісти 1 місце
- 16 травня
-
21:21Яке свято відзначають 17 травня: традиції, заборони і прикмети на цей день
-
19:15Гавкала та кричала: Брітні Спірс потрапила у скандал через поведінку в ресторані
-
19:00Домашній соус барбекю за 10 хвилин – рецепт, після якого магазинний більше не захочеться
-
14:55Гранд-фінал Євробачення-2026: коли виступить Україна та де дивитися конкурс
-
05:30Не чіпляйтеся за минуле: кому 16 травня зірки дають зелене світло на новий старт
- 15 травня
-
21:23Яке свято відзначають 16 травня: традиції, заборони і прикмети на цей день
-
05:3015 травня покаже, які стосунки тримаються на чомусь справжньому – а які лише на звичці
- 14 травня
-
21:23Яке свято відзначають 15 травня: традиції, заборони і прикмети на цей день
-
13:55Олена Тополя зізналася, за яку суму готова знову поїхати на Євробачення
-
05:30Зорі попереджають: 14 травня покаже слабкі місця в планах – і це найкраще за сьогодні
- 13 травня
-
21:23Яке свято відзначають 14 травня: традиції, заборони і прикмети на цей день
-
19:30LELÉKA розкрила бюджет участі у Євробаченні: скільки коштує номер співачки
-
17:00Сушений імбир виявився кориснішим за свіжий: вчені пояснили, як він допомагає імунітету
-
05:3013 травня – день гучних кроків: зірки кажуть, що час вийти з тіні й заявити про себе
- 12 травня
-
21:22Яке свято відзначають 13 травня: традиції, заборони і прикмети на цей день
-
17:10"Диявол носить Прада 2" зібрав сотні мільйонів: відомі гонорари Меріл Стріп та Енн Гетевей
-
05:3012 травня вирішують емоції та внутрішній голос: якому знаку Зодіаку слід забути логіку
- 11 травня
-
21:22Яке свято відзначають 12 травня: традиції, заборони і прикмети на цей день
-
05:30Забудьте про важкий старт тижня у понеділок: зірки обіцяють зовсім інше
- 10 травня
-
21:22Яке свято відзначають 11 травня: традиції, заборони і прикмети на цей день
-
13:20Charli XCX презентувала новий сингл і кліп Rock Music: чи це справді це перехід в рок-еру
-
10:10Apple виплатить компенсації власникам iPhone: хто може отримати до 95 доларів